有趣生活

当前位置:首页>生活>污泥其他浓缩技术——螺旋式浓缩机

污泥其他浓缩技术——螺旋式浓缩机

发布时间:2025-10-28阅读(1)

螺旋式浓缩机的大体构造、工作原理、浓缩效果与转鼓式浓缩机类似,螺旋式浓缩机外壳上覆有滤网,污泥在浓缩机内行进过程中释放出的水分(滤液)通过滤网而得到分离,并进入收集容器中,浓缩后的污泥从浓缩机出口排出

螺旋式浓缩机

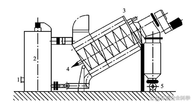
其与转鼓式浓缩机的不同之处在于其圆柱体外壳固定不动,而在内部设置可转动的螺旋推进器,在螺旋推进器缓慢转动的作用下浓缩机内的污泥结构发生变化,从而促使其实现固液分离,达到污泥浓缩效果的目的。如图所示。

螺旋式浓缩机示意

(www.ws46.cOm)

螺旋式浓缩机

1一污泥进口;2一絮凝反应器;3一螺旋式浓缩机;4一滤液排出口;5一浓缩污泥泵

螺旋式浓缩机

目前国外螺旋式浓缩机主要参数见表。

国外螺旋式浓缩机主要参数

螺旋式浓缩机以30°倾斜安装,运行时可根据污泥的性质和预期的浓缩要求来调节

螺旋推进器的转速。

螺旋式浓缩机

欢迎分享转载→http://www.youqulife.com/read-750777.html

相关文章

    Copyright © 2024 有趣生活 All Rights Reserve吉ICP备19000289号-5 TXT地图HTML地图XML地图