有趣生活

当前位置:首页>生活>污泥消化调理技术——厌氧消化调理技术

污泥消化调理技术——厌氧消化调理技术

发布时间:2025-10-28阅读(0)

消化过程对污泥脱水性能也具有较大的影响,但目前业内对这种影响是否有利于污泥的后续处理存在多种认识。一些研究者认为消化一般可以改善污泥脱水性能,而另一些研究者却认为消化过程会降低污泥的脱水性能。Houghton等研究发现,污泥消化后胞外聚合物含量比消化前平均降低了25%,胞外聚合物组成中蛋白质所占比例增加,从而使污泥脱水性能变差。Lawler在研究厌氧消化对污泥脱水性能的影响时提出,厌氧消化改变了污泥的粒径分布,当消化过程运行好时,能减少小颗粒的比例,改善脱水性能;当消化过程运行不好时,大颗粒会破碎,增加小颗粒的含量,从而使脱水性能恶化。

厌氧消化

但一般观点认为,适当的厌氧消化和好氧消化均可视作生物调理污泥的手段,其目的是将污泥中的高分子物质降解为低分子氧化物,降低污泥以碳水化合物、蛋白质、脂肪形式存在的高能量物质的含量,同时改善污泥的脱水性能、减少病原菌和产生异味物质的含量。

污泥厌氧消化

厌氧消化是国外运用最多的调理方法。目前新型厌氧消化及其预处理手段的出现,使得厌氧消化作为能量回收手段得到了极大的重视,而其对污泥的调理则是一项有利于污泥后续处理的附加作用,可以使污泥实现有效的稳定化,且使污泥减量30%~40%。但由于设备复杂、运行不便、投资成本高,故国内采用的不多。常用的污泥厌氧消化工艺有以下几种,由于将在文中其他章节对厌氧消化进行详细说明,故此处仅做简单介绍。

1)厌氧塘

厌氧塘处理污水的原理与污水的厌氧生物处理相同。有机物的厌氧降解分为水解、产酸和产甲烷三个步骤。在厌氧状态下,进入厌氧塘的可生物降解的颗粒性有机物,首先被胞外酶水解成可溶性的有机物,溶解性有机物再通过产酸菌转化为乙酸,接着在产甲烷菌的作用下,将乙酸和氢转变为甲烷和二氧化碳。虽然厌氧降解机理是有顺序的,但是,在整个系统中,这些过程则是同时进行的。厌氧塘全塘大都处于厌氧状态。厌氧塘除对污水进行厌氧处理以外,还能起到污水初次沉淀、污泥消化和污泥浓缩的作用。

厌氧塘作用机理

厌氧塘

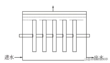
2)厌氧消化池

将厌氧消化池污水或污泥定期或连续地加人消化池中,经消化后的污泥从消化池底部排出,污水从上部排出,产生的沼气则从顶部排出。进行中温和高温发酵时,为了使发酵料液满足反应温度的要求,常需对其进行加热,一般采用蒸汽直接加热或池外设热交换器间接加热两种方式。为了使进料和厌氧污泥密切接触而通常设有搅拌装置,每隔 1~4h 搅拌一次当排放消化液时,一般需要停止搅拌,待沉淀分离后从上部排出上清液。污泥传统厌氧消化池如图所示。目前,消化工艺被广泛地应用于城市污水污泥的处理上。

污泥传统厌氧消化池

3)厌氧接触反应器

厌氧接触工艺排出的混合液,首先在沉淀池中进行固液分离或气浮分离。污水由沉淀池上部排出,而沉在底部的污泥则回流至消化池,在避免污泥的流失的同时还能提高消化池内污泥的浓度,在一定程度上提高了设备的有机负荷率和处理效率。传统厌氧接触工艺见图。

传统厌氧接触工艺

4)厌氧滤池(AF)

厌氧滤池(以下简称AF)是在早期Coulter等工作的基础上,于1969年由Young和 McCarty重新开发的。AF装置内填充了卵石、炉渣、瓷环、塑料等各种类型的固体填料,废水向上流动通过反应器的厌氧滤池,称为上流式厌氧滤池;此外还有废水向下流动通过反应器的装置形式,称为下流式厌氧滤池。两种厌氧滤池的示意如图。

厌氧滤池示意

5)升流式厌氧污泥床反应器(UASB)

在UASB反应器中,废水从反应器底部向上运行通过包含颗粒污泥或絮状污泥的污泥床。厌氧反应发生于废水与污泥颗粒的接触过程,在厌氧状态下产生的沼气(主要是甲烷和二氧化碳)引起了内部混合,此混合过程有利于形成和维持颗粒污泥。在污泥层产生的一些气体会附着在污泥颗粒上,随着气体上升到表面的颗粒碰击气体发射板的底部,引起附着气体从污泥絮体表面释放,释放气体后的污泥颗粒沉淀回到污泥床的表面,而包含一些剩余固体和污泥颗粒的液体则经过分离器缝隙进入沉淀区。UASB系统在形成沉降性能良好的污泥凝絮体的基础上,使气相、液相和固相三相得到分离。UASB反应器工艺见图。

升流式厌氧污泥床反应器工艺

6)厌氧流化床(FB)

厌氧流化床系统(以下简称FB)是由Jeris于1982年开发的一种反应器,该反应器中含有比表面积很大的惰性载体颗粒,从而实现厌氧微生物在其上的附着及生长。在流化床系统中,厌氧污泥的保留依靠在惰性载体微粒表面附着并形成的生物膜来实现,由于流化床使用了比表面积很大的载体,因此可以达到很高的厌氧微生物浓度,液体与污泥的混合、物质的传递则依靠这些带有生物膜的流态化惰性载体微粒来实现,而反应器内载体颗粒流态化的实现则依靠一部分出水回流以及具有较大高径比的反应器结构两方面。一般通过调节流速大小和控制颗粒膨胀程度,可使流化床载体达到完全流化状态。流化床一般按100%的膨胀率运行。厌氧流化床反应器工艺流程见图。

厌氧流化床反应器工艺流程

7)厌氧接触膜膨胀床反应器(AAFEB)

无论是好氧生物膜系统还是厌氧生物膜系统的研究,均表明生物膜法可使设备内单位体积保持较高生物量,高的生物浓度形成高的效率。但是高生物浓度会在生物膜上引起传质条件差的问题,比较有效的解决办法就是采用流化床或膨胀床的概念,即在反应器中利用小颗粒的惰性载体,采用上升流形式。

厌氧接触膜膨胀床反应器

8)厌氧生物转盘反应器

厌氧生物转盘与好氧生物转盘类似,微生物亦是在反应器中的惰性(塑料)介质上附着并生长,最后剩余污泥和处理后的出水从反应器排出。介质可部分或全部浸没在废水中,当介质在废水中转动时,可实现对生物膜厚度的适当限制。厌氧生物转盘如图所示。

厌氧生物转盘

9)厌氧内循环反应器(IC)

厌氧内循环反应器(以下简称IC)是在UASB反应器颗粒化和三相分离器概念的基础上改进而成的新型反应器,沼气的分离过程在反应器内分为底部和上部两个部分,其中底部处于极端的高负荷,上部处于低负荷。简而言之,IC反应器就是由两个UASB反应器单元相互重叠而成的装置,包括四个具有不同功能的组成部分,即混合部分、膨胀床部分、精处理部分和回流部分,见图。

IC反应器构造剖面

10)厌氧颗粒污泥膨胀床反应器(EGSB)

荷兰Wageningen 农业大学首先对厌氧颗粒污泥膨胀床反应器(以下简称EGSB)开展了相关研究。EGSB反应器运行在高的上升流速下,从而使颗粒污泥处于悬浮状态,保证了进水与污泥颗粒之间的充分接触,进水悬浮固体通过颗粒污泥床并随出水离开反应器,胶体物质被污泥絮体吸附被部分去除。当沼气产率低、混合强度低时,由于EGSB反应器具有较高的进水动能和颗粒污泥床的膨胀高度,故能获得比UASB反应器更理想的运行结果,尤其适用于处理低温和相对低浓度的污水。但是EGSB反应器采用了较高的上升流速,所以对颗粒有机物的去除并不适用。如图所示。

厌氧升流式流化床(UFB)

11)厌氧折流反应器(ABR)

厌氧折流反应器(以下简称ABR)是由美国Stanford大学的 McCarty等于20世纪80年代初提出的一种高效厌氧反应器,见图。在ABR反应器中,折板对水流的阻隔作用使污水上下折流穿过污泥层,造就了反应器推流前进的独特性质,厌氧反应中产酸相和产甲烷相沿程得到分离,由各个折板隔开的每一反应单元就相当于相对独立的上流式污泥床,而ABR反应器的整体性能就相当于分级多相厌氧处理系统。ABR反应器的分格式结构及推流式流态使得每个反应单元中均可驯化培养出与流至该反应单元中的污水水质以及环境条件相适应的微生物群落,而废水中的有机基质通过与微生物充分接触而得到去除。借助于废水流动和沼气上升的作用,反应室中的污泥上下运动。由于折板的阻挡和污泥自身的沉降性能,污泥在水平方向没有混掺,从而使大量活性污泥被截留在每个反应室中。

ABR反应器的工艺原理

12)厌氧复合床反应器(UBF)

许多研究人员为了充分发挥UASB反应器与AF反应器的优点,采用了将两种工艺相混合的反应器结构,被称为厌氧复合床反应器(以下简称为UBF)。UBF反应器的结构一般是将AF反应器置于UASB反应器上部,可充分发挥AF反应器和UASB反应器两者的优点并改善反应器处理废水的运行效果。厌氧复合床反应器见图。

厌氧复合床反应器

欢迎分享转载→http://www.youqulife.com/read-750823.html

相关文章

    Copyright © 2024 有趣生活 All Rights Reserve吉ICP备19000289号-5 TXT地图HTML地图XML地图