有趣生活

当前位置:首页>生活>实验8 厌氧消化实验

实验8 厌氧消化实验

发布时间:2025-10-28阅读(0)

1实验目的

通过本实验希望达到以下目的:1掌握厌氧消化实验方法;2了解厌氧消化过程pH、碱度、产气量、COD去除等的变化情况,加深对厌氧消化的影响;3掌握pHCOD的测定方法;

2实验设备和材料

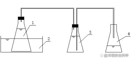
1实验设备a)厌氧消化装置(见图8-1):消化瓶的瓶塞,出气管以及接头处都必须密闭,防止漏气,否则会影响微生物的生长和所产沼气的收集;

(www.ws46.cOm)

图8-1 厌氧消化实验装置(1—消化瓶; 2—恒温水浴箱;3—集气瓶;4—计量瓶)

b)恒温水浴槽;(cCOD测定装置;(d)酸度计。1实验材料a)已培养驯化好的厌氧污泥。(b)模拟工业废水(本实验采用人工配制的甲醇废水)。

恒温水浴槽

酸度计

消化瓶

3实验步骤

1配置甲醇废水400mL备用。甲醇废水配比如下:甲醇2%,乙醇0.2%NH

欢迎分享转载→http://www.youqulife.com/read-750943.html

相关文章

    Copyright © 2024 有趣生活 All Rights Reserve吉ICP备19000289号-5 TXT地图HTML地图XML地图