有趣生活

当前位置:首页>生活> 钛提取过程中的废弃物及伴生元素走向

钛提取过程中的废弃物及伴生元素走向

发布时间:2025-10-28阅读( 29)

3.1钛白粉制备过程中的废弃物——固废

硫酸法固态废弃物较多,主要含硫酸亚铁的固态废弃物,会造成严重的环境污染。处理方式:

硫酸亚铁的固态废弃物
  • 通过浮选的方式来处理固态废弃物

  • 干基含量40%~50%,反复酸解处理,可利用酸解后的物质进行低档次产品生产

  • 干基含量在50%以上,需要将固态废弃物放置在酸解锅中并加入矿粉,对其进行反复的酸解处理

  • 若固态废弃物是石膏渣,则利用污水处理工艺进行石膏渣处理,获得白石膏,可以用于水泥生产。

  • 3.2钛白粉制备过程中的废弃物——废水

    水洗、水解等会产生大量液态废水,酸性较强,直接排放,会对环境产生严重的负面影响。处理方式:

  • 采用石灰中和法进行处理,将废水中的杂质排除。

  • 主要是将石灰石投入到中和筒内,液态废水通过过液泵直接排入中和滚筒中,使液态废水与石灰石发生反应。

  • 之后将反应后的液体送入中和罐内,让其再与石灰乳发生反应,总和液体中的酸性物质。

  • 最后,将液体送至静态混合器内,并投入一定量的絮凝剂,让液体进行沉淀。经过一段时间的处理之后,液体的pH值在6.0~7.5之间,悬浮物不大于145 mg/L,直接排放。

  • 3.3钛白粉制备过程中的废弃物——废气

    高温环境使很多物质发生化学反应,产生反应气体,如二氧化硫、三氧化硫等。处理方式:

  • 酸解废气一般用大量水喷淋使其中的水蒸气冷凝下来,然后用碱液喷淋吸收其中的二氧化硫、三氧化硫等后排放。

  • 3.4四氯化钛制备过程中产生的废弃物——炉渣

    四氯化钛

    对于沸腾氯化工艺,从氯化炉底排出的氯化残渣,主要成分是未被氯化的富钛料和过量的还原剂石油焦,其次还有高沸点氯化物(CaCl2、MgCl、MnCl2等)。

  • 石油焦与残留的富钛料的比重差别较大,可采用重力选矿法将它们分离并分别回收利用。也可将氯化残值加入炉中进行再次氯化,直接利用其中的TiO2和石油焦。

  • 3.5 四氯化钛制备过程中产生的废弃物——收尘渣

    收尘渣

    收尘渣的主要成分是高沸点氯化物,还有被炉气带出的氯化残渣等固体物。如果富钛料含有铀、钍等放射性元素,在氯化中生成的放射性元素的氯化物则富集在收尘渣中。

  • 收尘渣是不能再返问氯化炉中处理,必须单独处理。

  • 处理收尘渣通常采用水法,让渣中的氯化物水解,然后用石灰中和,经因液分离后的水循环利用,残渣堆放在渣场。

  • 如果收尘渣含有放射性,则必须按照放射性物质管理办法处理。

  • 3.6四氯化钛制备过程中产生的废弃物——泥浆

    在冷凝、沉降和过滤等过程中产生的含TiCl4的泥浆,其中的固体物是一些在收尘器未收集的高沸点氯化物和其他细粒固体物。

    含大量TiCl4的泥浆,—遇水立即爆发性的产生大量HCl酸气,危害极大,既腐蚀厂房钢铁构件及设备,又腐蚀厂区排水沟道及建筑物,更危害人体健康。

  • 对泥浆的处理,主要采用加热法。

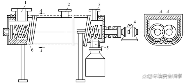
  • 泥浆蒸发器结构图

    1-进料管;2-四氯化钛蒸发引出管;3-通道口;4-电机;5-排渣口;6-加热自感线圈

    (4)氯化尾气

    TAGS标签:   提取   过程   中的   废弃物   伴生   钛提取过程中的废弃物

    Copyright © 2024 有趣生活 All Rights Reserve吉ICP备19000289号-5 TXT地图HTML地图XML地图