有趣生活

当前位置:首页>生活>污泥转鼓干燥机的结构

污泥转鼓干燥机的结构

发布时间:2025-10-28阅读(1)

转鼓干燥机的结构形式如下。

(1)热介质进出口旋转接头

其主要部件有空心轴、三通、壳体、端盖、轴承、密封件、波纹管等。旋转接头是将流体介质(导热油、空气、水、蒸汽等)从静止的管道输入到旋转或往复运动设备中的一种连接密封装置。它是一个独立的单体产品,一端与静止的管道连接,另一端与旋转的转鼓连接,介质从管道通过旋转接头进入转鼓内。该产品的优点在于采用机械密封,不需要填料,彻底解决了流体跑、冒、滴、漏等问题;可手动调节,自动补偿,摩擦系数小,使用寿命长,节省能源,减少维修工作量,降低了生产成本,是理想的密封产品。

(2)转鼓筒体

转鼓结构包括筒体、端盖、轴及轴承,按加热介质不同可分为以下3种。

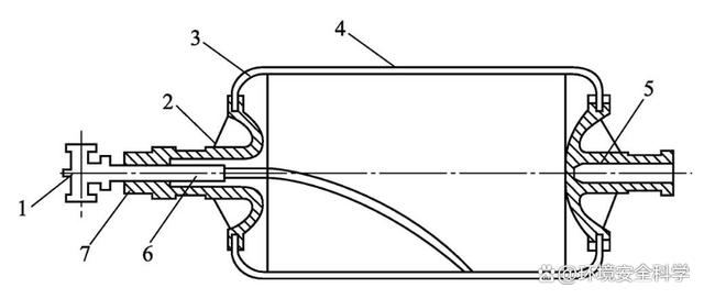
① 用水蒸气作为加热介质的光筒筒体,其结构见图1。

图1 水蒸气加热的光筒筒体

1—进气头;2—主动端轴;3—椭圆形封头;4—筒体;5—从动端轴;6—虹吸管;7—填料函

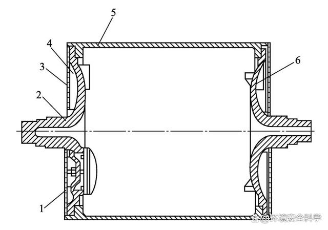
② 用导热油、热水作为加热介质的带有螺旋导流板夹层结构的筒体,其结构见图2。

图2 带有螺旋导流板夹层结构的筒体

1—手孔;2—从动端轴;3—封板;4—保温层;5—筒体;6—主动端盖

③ 特别适合某些膏糊状的物料及需要成型的物料的一种带环形沟槽的筒体,使干燥与造粒相结合,其结构见图3。来源: www.ws46.com

图3带环形沟槽的筒体(用于成型干燥)

筒体材质可根据被干燥物料介质的种类及性能分为碳钢、不锈钢、铜等材料。加工方法为铸造和焊接两种。

Ⅰ.铸造转鼓:筒体、端轴均分别由铸件经加工和热处理后组装而成,见图4,这类转鼓筒体壁厚为15~32mm。具有热容量大、传热稳定、良好的耐磨性和刚性等优点;缺点是质量大,热阻大,导热性差,传热速率低,干燥能力差。目前使用的场合比较少。

图4 铸铁滚筒体(铸造转鼓)

1—筒体;2—导流螺旋板;3—端盖连接凸缘环;4—夹层平板;5—安装中心管;6—夹层本体

Ⅱ.焊接转鼓:筒体由具有焊接性能的板材卷焊加工成型,焊接筒体具有壁薄(8~15mm)、导热性好、加工方便、传热性能好、筒体直径与长度范围广、干燥能力强等特点,为各类转鼓干燥机所常用的筒体形式。在筒体卷焊加工过程中,尽量使筒体厚度均匀、椭圆度小,以保证筒壁各部分受热均匀,温差小,同时保持布料装置与布料调控装置与圆筒之间的相对位置恒定不变,防止铺在滚筒上的物料厚度不均匀或物料层不完全,从而产生温度差或部分部位过热等现象,直接影响产品质量。对转鼓干燥机来讲,圆筒加工的好坏,将决定设备的干燥能力及干燥产品的好坏。为了在不同蒸汽压力和进风温度等条件下,转鼓表面不凹曲,需要有较高的制造精度和承压能力,故筒体要按压力容器规范来制造和验收。

(3)刮刀及调节装置

刮刀装置包括刮刀刀片、支撑架、支轴和压力调节器等部件。刮刀装置按传递方式可分为直接式和杠杆式两种形式,按压力调节器作用的传递方式又可分为弹簧式(弹性)和螺杆式(刚性)两种形式。刮刀材料主要考虑耐磨性、耐腐蚀性以及筒体表面的硬度,刀刃刃口保证平直、光洁,并作研磨处理。

欢迎分享转载→http://www.youqulife.com/read-752103.html

相关文章

    Copyright © 2024 有趣生活 All Rights Reserve吉ICP备19000289号-5 TXT地图HTML地图XML地图