有趣生活

当前位置:首页>生活>实验18 文丘里-旋风水膜除尘器的除尘模拟实验

实验18 文丘里-旋风水膜除尘器的除尘模拟实验

发布时间:2025-10-28阅读(1)

1实验目的

了解文丘里湿式除尘器的组成及运行状况。

文丘里湿式除尘器

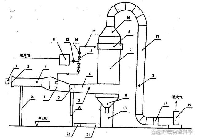
2实验流程及装置

实验流程及装置,见图18-1

3、分析测试器材

1TH-880型微电脑烟尘平行采样仪(武汉天虹智能仪表厂):1

2)玻璃纤维滤筒:若干。(3)镊子:1支。(4)分析天平:分度值0.001g1台。(5)烘箱:1台;(6)橡胶管:若干。

TH-880Ⅳ型微电脑烟尘平行采样仪

镊子

烘箱

4实验步骤

1)滤筒的预处理:测试前先将滤筒编号,然后在105烘箱中烘2h,取出后置于干燥器内冷却20min,再用分析天平测得初重G

欢迎分享转载→http://www.youqulife.com/read-750944.html

相关文章

    Copyright © 2024 有趣生活 All Rights Reserve吉ICP备19000289号-5 TXT地图HTML地图XML地图